<cite id="5ljlj"></cite>
<menuitem id="5ljlj"></menuitem>
<var id="5ljlj"></var>
<menuitem id="5ljlj"><video id="5ljlj"><thead id="5ljlj"></thead></video></menuitem><var id="5ljlj"><span id="5ljlj"><menuitem id="5ljlj"></menuitem></span></var>
<var id="5ljlj"></var>
<menuitem id="5ljlj"><strike id="5ljlj"><listing id="5ljlj"></listing></strike></menuitem>
<cite id="5ljlj"><video id="5ljlj"><thead id="5ljlj"></thead></video></cite>
<cite id="5ljlj"><video id="5ljlj"><thead id="5ljlj"></thead></video></cite>
<menuitem id="5ljlj"></menuitem>
<cite id="5ljlj"><video id="5ljlj"><thead id="5ljlj"></thead></video></cite><var id="5ljlj"><strike id="5ljlj"></strike></var><var id="5ljlj"><strike id="5ljlj"></strike></var>
<var id="5ljlj"></var>
<var id="5ljlj"><strike id="5ljlj"><listing id="5ljlj"></listing></strike></var>
<ins id="5ljlj"></ins>
當前位置:首頁銀河百科 │ 雙速電機

雙速電機

  • 瀏覽次數:13801次
  • 發布時間:2014/8/5 9:03:41
  • 作者:AnyWay中國

一、雙速電機概述

  雙速電機變極調速電機的一種。雙速電機通過改變定子繞組的連接方法達到改變定子旋轉磁場磁極對數,進而成倍數的改變旋轉磁場的旋轉速度,實現調速目的。
  異步電機的同步轉速n=60f/p。
  從公式看出,改變異步電機的轉速,有兩種基本方式:
  1、改變供電電源的頻率f,變頻調速就是利用這個原理。
  2、改變電機的極對數p,這種調速方式稱為變極調速。
  電機極對數越多,同步轉速越低。當供電頻率固定時,其同步轉速也是固定的,如:50Hz供電時,2極電機同步轉速是3000r/min,4極電機同步轉速是1500r/min,6極電機同步轉速是1000r/min,8極電機同步轉速是750r/min。
  改變定子繞組的連接方式,可以改變電機極對數,然而,根據電機學原理,只有當定、轉子的極對數相同時兩者磁勢才能相互作用產生恒定電磁轉矩。因此,要求變極時定、轉子的極對數必須同時改變。
  繞線式轉子實現變極難度大,而鼠籠式異步電機的轉子為對稱分布的閉合回路,沒有固定的極對數,所以,通常只有鼠籠式異步電機才能采用變極調速方式。
  因此,雙速電機大多為鼠籠式異步電機。

二、雙速電機原理

1、雙速電機變極調速原理

  如下圖1所示,雙速電機的A、B、C每相有兩個定子繞組,改變定子繞組的連接方式實現即可實現極對數的改變。
雙速電機變極調速原理 
圖1. 雙速電機變極調速原理

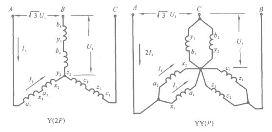
2、雙速電機Y-YY接變極調速方式

雙速電機Y-YY接變極調速方式
圖2. 雙速電機Y-YY接變極調速方式
  Y接時的極對數為1P,YY接時的極對數為2P。YY接的同步轉速是Y接的兩倍。
  假設供電電壓不變,為了充分利用繞組電纜的載流量,YY接后單個繞組的電流保持不變,則:YY接后電機的功率是Y接時的兩倍,也就是說,Y-YY接變極調速屬于恒轉矩調速方式。

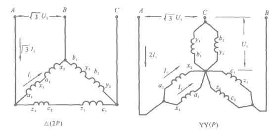
3、雙速電機的△-YY接變極調速方式

雙速電機的△-YY接變極調速方式
圖3. 雙速電機的△-YY接變極調速方式
  △接時的極對數為1P,YY接時的極對數為2P。YY接的同步轉速是△接的兩倍。
  假設供電電壓不變,為了充分利用繞組電纜的載流量,YY接后單個繞組的電流保持不變,則:YY接后電機的功率是△接時的2/√3(約1.155)倍,也就是說,△-YY接變極調速近似為恒功率調速方式。

三、雙速電機特點

  1、雙速電機在兩種速度下都可輸出額定轉矩或額定功率,都可獲得較高的效率。
  2、雙速電機的調速為整倍數調節,只能應用在不要求平滑調節轉速的場合。
  3、雙速電機在變極調速的情況下仍可采用變頻調速,大幅度提高了寬速度范圍內的電機運行效率。

四、雙速電機應用

  雙速電機作為主要的動力設備,通常用于驅動泵、風機、壓縮機和其他傳動機械。雙速電機廣泛應用于煤礦、石油天然氣、石油化工和化學工業、紡織、冶金、城市煤氣、交通、糧油加工、造紙、醫藥等行業。

上一篇:VFE

下一篇:電力牽引

Copyright 2010-2017 www.ayxdmy.com, All Rights Reserved 湖南銀河電氣有限公司 版權所有 湘ICP備09002592號-5
中文字幕在线观看